Доставка завтра - 390 ₽
на лучшие бренды
от производителей
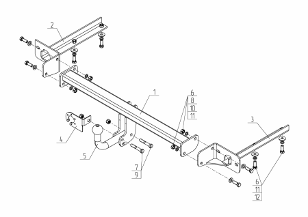
КОМПЛЕКТ ПОСТАВКИ
|
1. |
ТСУ LADA Vesta Cross |
- 1 шт. |
|
2. |
Кронштейн левый |
- 1 шт. |
|
3. |
Кронштейн правый |
- 1 шт. |
|
4. |
Подрозетник |
- 1 шт. |
|
5. |
Шар |
- 1 шт. |
|
6. |
Болт М12х35 |
- 8 шт. |
|
7. |
Болт М12х1,25x70 |
- 2 шт. |
|
8. |
Гайка М12 |
- 4 шт. |
|
9. |
Гайка М12x1,25 (самостоп.) |
- 2 шт. |
|
10. |
Шайба Ø12 |
- 4 шт. |
|
11. |
Шайба пружинная Ø12 |
- 8 шт. |
|
12. |
Шайба Ø12х40х2 |
- 4 шт. |
|
13. |
Сертификат |
- 1 шт. |
|
14. |
Руководство |
- 1 шт. |
Оплачивайте покупки удобным способом. В интернет-магазине доступно 3 варианта оплаты:
- Наличные при самовывозе или доставке курьером. Специалист свяжется с вами в день доставки, чтобы уточнить время и заранее подготовить сдачу с любой купюры. Вы подписываете товаросопроводительные документы, вносите денежные средства, получаете товар и чек.
- Безналичный расчет при самовывозе или оформлении в интернет-магазине: карты Visa и MasterCard. Чтобы оплатить покупку, система перенаправит вас на сервер системы ASSIST. Здесь нужно ввести номер карты, срок действия и имя держателя.
- Электронные системы при онлайн-заказе: PayPal, WebMoney и Яндекс.Деньги. Для совершения покупки система перенаправит вас на страницу платежного сервиса. Здесь необходимо заполнить форму по инструкции.
Экономьте время на получении заказа. В интернет-магазине доступно 4 варианта доставки:
- Курьерская доставка работает с 9.00 до 19.00. Когда товар поступит на склад, курьерская служба свяжется для уточнения деталей. Специалист предложит выбрать удобное время доставки и уточнит адрес. Осмотрите упаковку на целостность и соответствие указанной комплектации.
- Самовывоз из магазина. Список торговых точек для выбора появится в корзине. Когда заказ поступит на склад, вам придет уведомление. Для получения заказа обратитесь к сотруднику в кассовой зоне и назовите номер.
- Постамат. Когда заказ поступит на точку, на ваш телефон или e-mail придет уникальный код. Заказ нужно оплатить в терминале постамата. Срок хранения — 3 дня.
- Почтовая доставка через почту России. Когда заказ придет в отделение, на ваш адрес придет извещение о посылке. Перед оплатой вы можете оценить состояние коробки: вес, целостность. Вскрывать коробку самостоятельно вы можете только после оплаты заказа. Один заказ может содержать не больше 10 позиций и его стоимость не должна превышать 100 000 р.

