ТСУ 4382-A Oris на Nissan Qashqai 2014-2021. Тип шара: A. Нагрузки: 1800/100 кг., масса фаркопа 21 кг (без электрики в комплекте) без подрезки бампера.
Подробности
Под заказ
Привезем товар под заказ до нашего склада в Новосибирске, примерный срок ожидание от 3 до 30 дней.
Хочу в подарок
Самовывоз сегодня - бесплатно
Доставка завтра - 390 ₽
Доставка завтра - 390 ₽
Характеристики
Страна производства
—
Россия
Вертикальная нагрузка (макс.), кг.
—
100
Допустимая полная масса прицепа, кг.
—
1800
Масса фаркопа, кг.
—
21
Изготовление
—
Окраска (чёрный)
Демонтаж бампера
—
Да
Все характеристики
Цена действительна только для интернет-магазина и может отличаться от цен в розничных магазинах.
Не является публичной офертой*
Надежность
Доступные цены
на лучшие бренды
на лучшие бренды
Гарантия качества
от производителей
от производителей
Быстрая доставка
ORIS BOSAL производит фаркопы на Nissan Qashqai 2014-2021, при установке которых задействуется только штатные места крепления (предусмотренные автопроизводителем) без сверления дополнительных отверстий, что позволяет оптимально распределить нагрузку на кузов автомобиля.
Грузоподъемность фаркопа 4382-A на Ниссан Кашкай 2014-2021 рассчитывается теоретически и подтверждается динамическими испытаниями. Максимальная масса буксируемого прицепа 1800 кг при статической вертикальной нагрузке на шар 100 кг. Фаркоп с типом шара: А на Nissan Qashqai 2014-2021, удобен в эксплуатации, благодаря своей съемной части, при этом основная рама с кронштейном фаркопа скрыты за бампером и за габариты автомобиля не выступают.
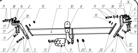
Комплектация фаркопа 4382-A:

Установка фаркопа 4382-A на Nissan Qashqai 2014-2021:
Рекомендуем производить монтаж фаркопа (ТСУ) в специализированных центрах по установке доп. оборудования с соответствующей сертификацией, не смотря на полноценную комплектацию фаркопа которая позволит вам установить его сразу же после получения. Так вы гарантированно получите необходимые документы для ГИБДД, гарантию на установочные работы и сам фаркоп

Грузоподъемность фаркопа 4382-A на Ниссан Кашкай 2014-2021 рассчитывается теоретически и подтверждается динамическими испытаниями. Максимальная масса буксируемого прицепа 1800 кг при статической вертикальной нагрузке на шар 100 кг. Фаркоп с типом шара: А на Nissan Qashqai 2014-2021, удобен в эксплуатации, благодаря своей съемной части, при этом основная рама с кронштейном фаркопа скрыты за бампером и за габариты автомобиля не выступают.
Комплектация фаркопа 4382-A:
.png)
Установка фаркопа 4382-A на Nissan Qashqai 2014-2021:
Рекомендуем производить монтаж фаркопа (ТСУ) в специализированных центрах по установке доп. оборудования с соответствующей сертификацией, не смотря на полноценную комплектацию фаркопа которая позволит вам установить его сразу же после получения. Так вы гарантированно получите необходимые документы для ГИБДД, гарантию на установочные работы и сам фаркоп
.png)
Инструкция (схема)
4382-A
6 мб
Certificat-ACPS-5878-23 (7)
3,4 мб
Вертикальная нагрузка (макс.), кг.
100
Допустимая полная масса прицепа, кг.
1800
Масса фаркопа, кг.
21
Изготовление
Окраска (чёрный)
Демонтаж бампера
Да
Диаметр сцепного шара, мм
50
Вырез бампера
Нет
Комплект электропроводки
Приобретается отдельно
Тип шара
A
Страна производства
Россия
Оплачивайте покупки удобным способом. В интернет-магазине доступно 3 варианта оплаты:
- Наличные при самовывозе или доставке курьером. Специалист свяжется с вами в день доставки, чтобы уточнить время и заранее подготовить сдачу с любой купюры. Вы подписываете товаросопроводительные документы, вносите денежные средства, получаете товар и чек.
- Безналичный расчет при самовывозе или оформлении в интернет-магазине: карты Visa и MasterCard. Чтобы оплатить покупку, система перенаправит вас на сервер системы ASSIST. Здесь нужно ввести номер карты, срок действия и имя держателя.
- Электронные системы при онлайн-заказе: PayPal, WebMoney и Яндекс.Деньги. Для совершения покупки система перенаправит вас на страницу платежного сервиса. Здесь необходимо заполнить форму по инструкции.
Экономьте время на получении заказа. В интернет-магазине доступно 4 варианта доставки:
- Курьерская доставка работает с 9.00 до 19.00. Когда товар поступит на склад, курьерская служба свяжется для уточнения деталей. Специалист предложит выбрать удобное время доставки и уточнит адрес. Осмотрите упаковку на целостность и соответствие указанной комплектации.
- Самовывоз из магазина. Список торговых точек для выбора появится в корзине. Когда заказ поступит на склад, вам придет уведомление. Для получения заказа обратитесь к сотруднику в кассовой зоне и назовите номер.
- Постамат. Когда заказ поступит на точку, на ваш телефон или e-mail придет уникальный код. Заказ нужно оплатить в терминале постамата. Срок хранения — 3 дня.
- Почтовая доставка через почту России. Когда заказ придет в отделение, на ваш адрес придет извещение о посылке. Перед оплатой вы можете оценить состояние коробки: вес, целостность. Вскрывать коробку самостоятельно вы можете только после оплаты заказа. Один заказ может содержать не больше 10 позиций и его стоимость не должна превышать 100 000 р.
Отзывы
Оставить отзыв
Загрузка отзывов...

