ТСУ KI 27 AvtoS на KIA Ceed II 2012-2018. Тип шара: A (условно-съемный шар, на 2-х болтах). Нагрузки: 1500/75 кг, масса фаркопа 17,5 кг. Снятие бампера в момент установки фаркопа НЕ ТРЕБУЕТСЯ. БЕЗ подрезки бампера.
Подробности
Под заказ
Привезем товар под заказ до нашего склада в Новосибирске, примерный срок ожидание от 3 до 30 дней.
Хочу в подарок
Самовывоз сегодня - бесплатно
Доставка завтра - 390 ₽
Доставка завтра - 390 ₽
Характеристики
Страна производства
—
Россия
Вертикальная нагрузка (макс.), кг.
—
75
Допустимая полная масса прицепа, кг.
—
1200
Масса фаркопа, кг.
—
17,5
Изготовление
—
Окраска (чёрный)
Демонтаж бампера
—
Нет
Все характеристики
Цена действительна только для интернет-магазина и может отличаться от цен в розничных магазинах.
Не является публичной офертой*
Надежность
Доступные цены
на лучшие бренды
на лучшие бренды
Гарантия качества
от производителей
от производителей
Быстрая доставка
Устройство тягово-сцепное (ТСУ) предназначено для шарнирной сцепки автомобиля с буксирным прицепом. Для обеспечения сцепки автомобиля с прицепами различных марок присоединительные элементы ТСУ стандартизованы в соответствии с ГОСТ Р 53815-2010. Изготовитель постоянно совершенствует ТСУ, поэтому некоторые конструктивные изменения могут быть не отражены в настоящем руководстве
|
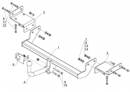
1. |
ТСУ KIA CEED х\б |
- 1 шт. |
|
2. |
Кронштейн левый |
- 1 шт. |
|
3. |
Кронштейн правый |
- 1 шт. |
|
4. |
Шар |
- 1 шт. |
|
5. |
Подрозетник |
- 1 шт. |
|
6. |
Болт М10х1,25х35 |
- 7 шт. |
|
7. |
Болт М12х40 |
- 4 шт. |
|
8. |
Болт М12х1,25x70 |
- 2 шт. |
Инструкция (схема)
KI27 pasport
904,5 кб
KI27 pasport
904,5 кб
Вертикальная нагрузка (макс.), кг.
75
Допустимая полная масса прицепа, кг.
1200
Масса фаркопа, кг.
17,5
Изготовление
Окраска (чёрный)
Демонтаж бампера
Нет
Диаметр сцепного шара, мм
50
Вырез бампера
Нет
Комплект электропроводки
Приобретается отдельно
Тип шара
A
Страна производства
Россия
Оплачивайте покупки удобным способом. В интернет-магазине доступно 3 варианта оплаты:
- Наличные при самовывозе или доставке курьером. Специалист свяжется с вами в день доставки, чтобы уточнить время и заранее подготовить сдачу с любой купюры. Вы подписываете товаросопроводительные документы, вносите денежные средства, получаете товар и чек.
- Безналичный расчет при самовывозе или оформлении в интернет-магазине: карты Visa и MasterCard. Чтобы оплатить покупку, система перенаправит вас на сервер системы ASSIST. Здесь нужно ввести номер карты, срок действия и имя держателя.
- Электронные системы при онлайн-заказе: PayPal, WebMoney и Яндекс.Деньги. Для совершения покупки система перенаправит вас на страницу платежного сервиса. Здесь необходимо заполнить форму по инструкции.
Экономьте время на получении заказа. В интернет-магазине доступно 4 варианта доставки:
- Курьерская доставка работает с 9.00 до 19.00. Когда товар поступит на склад, курьерская служба свяжется для уточнения деталей. Специалист предложит выбрать удобное время доставки и уточнит адрес. Осмотрите упаковку на целостность и соответствие указанной комплектации.
- Самовывоз из магазина. Список торговых точек для выбора появится в корзине. Когда заказ поступит на склад, вам придет уведомление. Для получения заказа обратитесь к сотруднику в кассовой зоне и назовите номер.
- Постамат. Когда заказ поступит на точку, на ваш телефон или e-mail придет уникальный код. Заказ нужно оплатить в терминале постамата. Срок хранения — 3 дня.
- Почтовая доставка через почту России. Когда заказ придет в отделение, на ваш адрес придет извещение о посылке. Перед оплатой вы можете оценить состояние коробки: вес, целостность. Вскрывать коробку самостоятельно вы можете только после оплаты заказа. Один заказ может содержать не больше 10 позиций и его стоимость не должна превышать 100 000 р.
Отзывы
Оставить отзыв
Загрузка отзывов...

