Доставка завтра - 390 ₽
на лучшие бренды
от производителей
ORIS BOSAL производит фаркопы на Changan CS55 2020-2023, при установке которых задействуется только штатные места крепления (предусмотренные автопроизводителем) без сверления дополнительных отверстий, что позволяет оптимально распределить нагрузку на кузов автомобиля.
Грузоподъемность фаркопа 9019-A на Чанган КС55 2020-2023 рассчитывается теоретически и подтверждается динамическими испытаниями. Максимальная масса буксируемого прицепа 1500, кг при статической вертикальной нагрузке на шар 75 (макс.), кг. Фаркоп с типом шара: A на Changan CS55 2020-2023, удобен в эксплуатации, благодаря своей съемной части, при этом основная рама с кронштейном фаркопа скрыты за бампером и за габариты автомобиля не выступают.
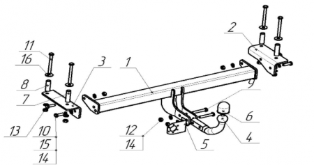
Комплектация фаркопа 9019-A:
.png)
Установка фаркопа 9019-A на Changan CS55 2020-2023:
Рекомендуем производить монтаж фаркопа (ТСУ) в специализированных центрах по установке доп. оборудования с соответствующей сертификацией, не смотря на полноценную комплектацию фаркопа которая позволит вам установить его сразу же после получения. Так вы гарантированно получите необходимые документы для ГИБДД, гарантию на установочные работы и сам фаркоп
ПРАВИЛА ЭКСПЛУАТАЦИИ И ТЕХНИЧЕСКОГО ОБСЛУЖИВАНИЯ
1. Техническое обслуживание ТСУ заключается в периодическом осмотре болтовых соединений ТСУ с автомобилем, крепления приборов электрооборудования и состояния окрашенной поверхности ТСУ. В целях предотвращения появления коррозии ТСУ необходимо содержать в чистоте от коррозионно-активных материалов (дорожная соль, грязь и влага). При обнаружении царапин, сколов поврежденное место необходимо обработать восстанавливающей краской, либо обратиться в сервисную службу.
2. Если автомобиль эксплуатируется без прицепа необходимо сцепной шар покрыть защитной смазкой и надеть защитный колпак. При сцепке прицепа с автомобилем шар должен быть смазан консистентной смазкой.
3. После фиксации сцепной головки прицепа на шаре ТСУ осуществлять страховочную связь прицепа с автомобилем, используя петлю на ТСУ для крепления страховочных цепей.
4. После пробега 1000 км с прицепом проверить затяжку всех резьбовых соединений ТСУ.
5. Не допускается буксировка прицепов полной массой, превышающей массу, указанную заводом-изготовителем транспортного средства, или фаркопа (что меньше), и со скоростью, превышающей ограничение для данного участка дороги. Перегрузка может привести к повреждению автомобиля и/или ТСУ. Такая перегрузка, в крайнем случае, может привести к отцеплению буксируемого автоприцепа, что может стать причиной серьезного ДТП и причинить вред пассажирам автомобиля и пешеходам.
6. Не допускается эксплуатация ТСУ при наличии трещин в сварных швах, серьёзных повреждений, вмятин и разрывов металла на деталях ТСУ.
7. В случае движения автомобиля с прицепом в условиях бездорожья максимально допустимая нагрузка на ТСУ снижается на 50% от заявленной заводом-изготовителем нагрузки, скорость движения не должна превышать 30 км/ч.
Оплачивайте покупки удобным способом. В интернет-магазине доступно 3 варианта оплаты:
- Наличные при самовывозе или доставке курьером. Специалист свяжется с вами в день доставки, чтобы уточнить время и заранее подготовить сдачу с любой купюры. Вы подписываете товаросопроводительные документы, вносите денежные средства, получаете товар и чек.
- Безналичный расчет при самовывозе или оформлении в интернет-магазине: карты Visa и MasterCard. Чтобы оплатить покупку, система перенаправит вас на сервер системы ASSIST. Здесь нужно ввести номер карты, срок действия и имя держателя.
- Электронные системы при онлайн-заказе: PayPal, WebMoney и Яндекс.Деньги. Для совершения покупки система перенаправит вас на страницу платежного сервиса. Здесь необходимо заполнить форму по инструкции.
Экономьте время на получении заказа. В интернет-магазине доступно 4 варианта доставки:
- Курьерская доставка работает с 9.00 до 19.00. Когда товар поступит на склад, курьерская служба свяжется для уточнения деталей. Специалист предложит выбрать удобное время доставки и уточнит адрес. Осмотрите упаковку на целостность и соответствие указанной комплектации.
- Самовывоз из магазина. Список торговых точек для выбора появится в корзине. Когда заказ поступит на склад, вам придет уведомление. Для получения заказа обратитесь к сотруднику в кассовой зоне и назовите номер.
- Постамат. Когда заказ поступит на точку, на ваш телефон или e-mail придет уникальный код. Заказ нужно оплатить в терминале постамата. Срок хранения — 3 дня.
- Почтовая доставка через почту России. Когда заказ придет в отделение, на ваш адрес придет извещение о посылке. Перед оплатой вы можете оценить состояние коробки: вес, целостность. Вскрывать коробку самостоятельно вы можете только после оплаты заказа. Один заказ может содержать не больше 10 позиций и его стоимость не должна превышать 100 000 р.

