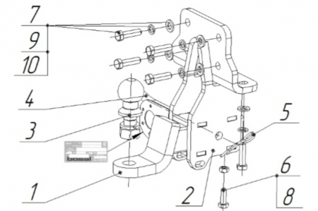
Фаркоп 3011-E для Toyota Land Cruiser Prado 120 с быстросъемным крюком <strong>под квадрат п</strong>роизводства Bosal. Подходит всем Тойота Ленд Крузер Прадо 120 с 2003 по 2009 год выпуска. <strong>Нагрузка 2500/100 кг. Требуется вырез в бампере. без электрики</strong>
Подробности
Под заказ
Привезем товар под заказ до нашего склада в Новосибирске, примерный срок ожидание от 3 до 30 дней.
Хочу в подарок
Самовывоз сегодня - бесплатно
Доставка завтра - 390 ₽
Доставка завтра - 390 ₽
Цена действительна только для интернет-магазина и может отличаться от цен в розничных магазинах.
Не является публичной офертой*
Надежность
Доступные цены
на лучшие бренды
на лучшие бренды
Гарантия качества
от производителей
от производителей
Быстрая доставка
Характеристики
Требования к установке
| Шар: | быстросъемный, под квадрат |
| Допустимая вертикальная нагрузка: | 100 кг. |
| Допустимая горизонтальная нагрузка: | 2500 кг. |
| Цвет: | черный |
| Электропакет: | нет |
| Крепления: | есть |
| Диаметр шара: | 50 мм. |
| Масса фаркопа: | 21 кг. |
| Производитель: | Bosal, Бельгия |
| Снятие бампера: | нет |
| Вырез бампера: | да |
| Сверление кузова: | нет |
Оплачивайте покупки удобным способом. В интернет-магазине доступно 3 варианта оплаты:
- Наличные при самовывозе или доставке курьером. Специалист свяжется с вами в день доставки, чтобы уточнить время и заранее подготовить сдачу с любой купюры. Вы подписываете товаросопроводительные документы, вносите денежные средства, получаете товар и чек.
- Безналичный расчет при самовывозе или оформлении в интернет-магазине: карты Visa и MasterCard. Чтобы оплатить покупку, система перенаправит вас на сервер системы ASSIST. Здесь нужно ввести номер карты, срок действия и имя держателя.
- Электронные системы при онлайн-заказе: PayPal, WebMoney и Яндекс.Деньги. Для совершения покупки система перенаправит вас на страницу платежного сервиса. Здесь необходимо заполнить форму по инструкции.
Экономьте время на получении заказа. В интернет-магазине доступно 4 варианта доставки:
- Курьерская доставка работает с 9.00 до 19.00. Когда товар поступит на склад, курьерская служба свяжется для уточнения деталей. Специалист предложит выбрать удобное время доставки и уточнит адрес. Осмотрите упаковку на целостность и соответствие указанной комплектации.
- Самовывоз из магазина. Список торговых точек для выбора появится в корзине. Когда заказ поступит на склад, вам придет уведомление. Для получения заказа обратитесь к сотруднику в кассовой зоне и назовите номер.
- Постамат. Когда заказ поступит на точку, на ваш телефон или e-mail придет уникальный код. Заказ нужно оплатить в терминале постамата. Срок хранения — 3 дня.
- Почтовая доставка через почту России. Когда заказ придет в отделение, на ваш адрес придет извещение о посылке. Перед оплатой вы можете оценить состояние коробки: вес, целостность. Вскрывать коробку самостоятельно вы можете только после оплаты заказа. Один заказ может содержать не больше 10 позиций и его стоимость не должна превышать 100 000 р.
Отзывы
Оставить отзыв
Загрузка отзывов...

